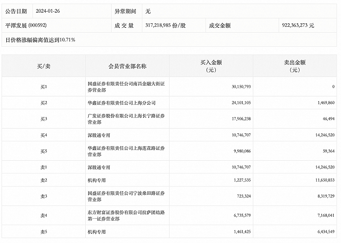
1月26日,平潭发展今日涨停,龙虎榜数据显示,上榜营业部席位全天成交1.52亿元,占当日总成交金额比例为16.53%。其中,买入金额为1.03亿元,卖出金额为4939.54万元,合计净买入5363.74万元。
具体来看,机构买入268.9万元,卖出1808.54万元,合计净卖出1539.64万元。此外,知名游资现身龙虎榜,国盛证券南昌金融大街证券营业部、华鑫证券上海分公司分别买入3015.08万元、2410.11万元;深股通专用、宁波桑田路(国盛证券宁波桑田路证券营业部)分别卖出1424.65万元、831.97万元。


